Poor wiring can ruin a boat these boat harnesses use 275 degree thermal crossed linked wire that wont kink and is abrasive resistant. Boat trailer wiring harnesses since 1998 iboats is the most trusted water lifestyle online store for boat parts and accessories boats for sale and forums.
Pontoon Boat Wiring Harness Diagram H1 Wiring Diagram
Boat wiring harness replacement. Eligible for free shipping. Enjoy great priced products with fast shipping. Nilight 10011w 16awg wiring harness kit 2 leads led light bar 12v onoff 5 pin rocker switch power relay blade fuse for jeep boat trucks 2 years warranty 46 out of 5 stars 1041 1273 12. Our snap together boat wiring harness comes in three sizes for boats up to 30 and is designed to handle almost any boat wiring configuration and there is no freight charge for purchases in the lower 48 states. Czc auto trailer wiring harness kit 4 way wishbone style y style 18awg pure copper core color coded wire with standard 4 pin flat plug connector 4 female and 25 male for 12v trailer boat marine 46 out of 5 stars 57. Cell phones accessories.
Enjoy great priced products with fast shipping. Cell phone automobile chargers. Simply snaps to panels and parts ours or yours. All customers get free shipping on orders over 25 shipped by amazon. Wiring harnesses since 1998 iboats is the most trusted water lifestyle online store for boat parts and accessories boats for sale and forums. Automotive replacement spark plugs wires.
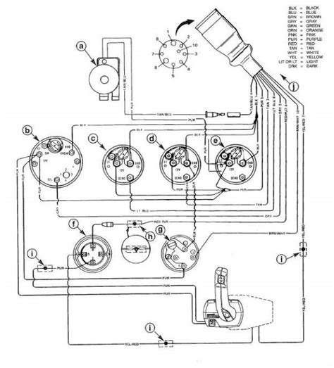
1977 1981 20 hp 2 cyl 1976 1979 50 80 85 hp 4 cyl harness exits through the side of the lower cowling. Automotive replacement ignition plug connectors. Automotive replacement electrical wiring harnesses. As a result if you are in the hunt for replacing the wiring harness on your boat trailer you can start checking out the product options carefully reviewed below. 1 16 of over 4000 results for boat wiring kit skip to main search results amazon prime. Dc12v 40a rated automotive relay.
Cdi electronics provides superior ignition and diagnostic solutions to the marine industry. Automotive replacement parts. Mictuning mic 1to1 wiring harness kit withonoff switch and easy to install. Cdi delivers superior product quality and reliability making them a cost effective alternative to oem supplied components. This article intends to provide vital information that has something to do with some available solutions that you could consider that consist of splice in wiring custom wiring as well as replacement wiring. Terminal block style complete boat wiring harness 20 foot wired for voltmeter wiring your boat doesnt have to be a hassle due to tangled wires bad connections and guess work.
Rewire your boat quickly and correctly take days off your boat wiring project. Free shipping by amazon. 10ft extendable wiring harness more than 10ft of wiring from switch connection to lights connection that is plenty of length to put it where you want. Cdi replacement wiring harness for 24 cylinder mercury outboards.
















